交易价格: 面议
类型: 发明专利
技术成熟度: 正在研发
专利所属地:中国
专利号:CN200810229982.6
交易方式: 完全转让
联系人: 中国科学院大连化学物理研究所
所在地:江苏苏州市
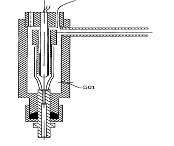
本发明涉及一种表面热离子化检测器,包括发射极、加热棒、收集极、下端为喇叭形变径的连接管和外壳等组件。发射极用钼或铂或合金材料制成,为圆筒状或螺旋状绕丝。加热棒对金属发射极加热并且承担支撑发射极。当发射极表面加热到300~500℃时,有机胺类化合物与发射极表面碰撞,发生表面电离产生正离子而被检测。所发明的检测器对叔胺的最小检出量小于10-12g/s。该检测器可选择性的检测胺和肼及其衍生物等,可作为毛细管和填充柱气相色谱等系统的检测器,也可以作为传感器单独使用。

成果推荐 需求推荐 评估专家推荐 评估机构推荐
Copyright © 2018 宁夏回族自治区生产力促进中心 版权所有 宁ICP备11000235号-3 宁公网安备 64010402000776号