交易价格: 面议
类型: 发明专利
技术成熟度: 正在研发
专利所属地:中国
专利号:CN200810230245.8
交易方式: 完全转让
联系人: 中国科学院大连化学物理研究所
所在地:江苏苏州市
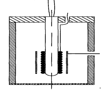
本发明涉及一种采用表面热离子化原理测量挥发性胺和肼及其衍生物的选择性传感器,包括置于外壳内部的发射极和收集极等组件。发射极用钼或铂或合金材料制成,为线绕结构或筒状结构,加热棒对发射极金属电极加热并且承担支撑发射极;或者发射极和收集极为平行放置的两平板。当发射极在空气中被加热到350~480℃时,空气、胺或肼及其他化合物扩散进入传感器内,与发射极的表面碰撞,只有胺或肼发生表面电离产生正离子而被检测。该传感器对叔胺的最小检出量小于2μg/M3,可以用于现场检测有毒的挥发性胺类和剧毒肼类化合物。

成果推荐 需求推荐 评估专家推荐 评估机构推荐
Copyright © 2018 宁夏回族自治区生产力促进中心 版权所有 宁ICP备11000235号-3 宁公网安备 64010402000776号