交易价格: 面议
类型: 非专利
技术成熟度: 正在研发
交易方式: 完全转让
联系人: 长安大学
所在地:陕西西安市
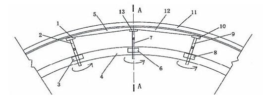
本发明公开了一种隧道施工缝背贴式止水带安装设备,包括端头模板,还包括升降装置一、升降装置二和升降装置三,升降装置二位于隧道顶部的中部,升降装置一包括升降托板一、升降螺杆一和连接块一,升降装置二包括升降托板二、升降螺杆二和连接块二,升降装置三包括升降托板三、升降螺杆三和连接块三,顶板一的上部抵接在隧道顶部,顶板一下部的两端分别与升降托板一和升降托板二连接巨抵接在止水带的上表面,顶板二的上部抵接在隧道顶部,顶板二下部的两端分别与升降托板二和升降托板三连接且抵接在止水带的上表面。该隧道施工缝背贴式止水带安装设备解决了在隧道顶部背贴式止水带周围混凝土不易密实的问题,提高背贴式止水带的防水效果。

Copyright © 2018 宁夏回族自治区生产力促进中心 版权所有 宁ICP备11000235号-3 宁公网安备 64010402000776号